13818867255
纽浪(上海)阀门科技有限公司生产销售的气动V型调节球阀具有特殊形状的固定式V型切口球体和可调金属阀座结构,当阀关闭时,V型切口与阀座形成楔形剪切作用,可防止球体和阀座之间污物产生的卡死现象,具有自清结功能,特别适用于含纤维料浆,污水和粘性颗粒的介质,配以阀门定位器可实现连续调节,并且流阻小,调节范围广,是一种用途广泛,高质量的调节阀。

纽浪(上海)阀门科技有限公司生产销售的气动V型调节球阀具有特殊形状的固定式V型切口球体和可调金属阀座结构,当阀关闭时,V型切口与阀座形成楔形剪切作用,可防止球体和阀座之间污物产生的卡死现象,具有自清结功能,特别适用于含纤维料浆,污水和粘性颗粒的介质,配以阀门定位器可实现连续调节,并且流阻小,调节范围广,是一种用途广泛,高质量的调节阀。
气动V型调节球阀是一种直角回转结构的高级控制阀,它与阀门定位器配套使用,可实现比例调节;与二位五通电磁阀及控制箱配套使用,可实现开关控制。气动V型球阀阀芯设计成带有特殊形状的V型缺口,具有精确的截流物性和控制功能,适用于各种控制场合,结构紧凑,体积小,可紧卧安装等优点。气动V型调节球阀适用于气体、液体、固态颗粒状介质的控制。由于阀芯和阀座之间是无间隙回转,所以具有很大的剪切力及自洁性能,尤其适用于含有纤维性或有微小固体颗粒的悬浊液及固态颗粒状的控制。因此气动V型球阀本产品可广泛用于石油、化工、造纸、化纤、电力、冶金、制药、环保等工业部门的自控系统。
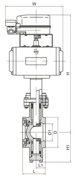
| VQ671H-16 | ![]() | ||||||||
|---|---|---|---|---|---|---|---|---|---|
| 通径DN | L | L1 | D | D1 | H1 | H | W | ||
| mm | in | ||||||||
| 25 | 1″ | 50 | 25 | 64 | 38 | 57 | 330 | 140 | |
| 40 | 1 1/2″ | 60 | 25 | 82 | 49 | 63 | 375 | 164 | |
| 50 | 2″ | 75 | 32 | 100 | 60 | 92 | 398 | 190 | |
| 65 | 2 1/2″ | 85 | 38 | 120 | 75 | 100 | 408 | 210 | |
| 80 | 3″ | 100 | 45 | 131 | 89 | 108 | 450 | 247 | |
| 100 | 4″ | 115 | 50 | 158 | 113 | 117 | 465 | 276 | |
| 125 | 5″ | 135 | 55 | 180 | 140 | 140 | 525 | 348 | |
| 150 | 6″ | 160 | 65 | 216 | 164 | 177 | 578 | 378 | |
| 200 | 8″ | 200 | 80 | 268 | 205 | 200 | 650 | 432 | |
版权所有 © 纽浪(上海)阀门科技有限公司 备案号:沪ICP备14038546号-2 图文来源网络 如有侵权请联系删除
技术支持: 纽浪(上海)阀门